BIM fürs La­bor

Auf dem Areal der Hochgebirgsklinik Davos wurde 2019 ein Büro-Labor-Neubau in Betrieb genommen. OOS Architekten setzten bei der Planung und Realisierung auf die BIM-Methode.

Publikationsdatum
25-01-2021

Mit dem «Medizincampus Davos» entsteht ein weltweit einmaliges Zentrum, in dem Forschung, Therapie und Ausbildung im Allergie- und Asthmabereich ideal vernetzt werden. Der Neubau des Campusgebäudes ist ein wichtiges Puzzlestück des Medizincampus. Er erfüllt die komplexen Anforderungen, die sich aus der Nutzung als Bildungscampus und Forschungslabor ergeben. Die auf den Bereich «Allergie» spezialisierten Institutionen Schweizerisches Institut für Allergie- und Asthmaforschung SIAF, Christine Kühne – Center for Allergy Research and Education CK-CARE und die Hochgebirgsklinik Davos bündeln hier ihre Kompetenzen und schaffen durch die räumliche Nähe Synergien.

Das Erdgeschoss ist die eigentliche Drehscheibe mit Flächen für Ausbildung und Know-how-Transfer: Ein Kongresssaal, in der Grösse veränderbare Schulungsräume und die Cafeteria bilden die Plattform für Austausch und Vermittlung. In den beiden Obergeschossen sind Büro- und Laborräume untergebracht. Diese sind betrieblich zwar strikt voneinander getrennt, funktional aber zusammengebunden, um auch hier den Austausch und die Zusammenarbeit bestmöglich zu unterstützen.

Die Nutzungsverteilung im Gebäude spiegelt sich in der Fassade. So bildet das Erdgeschoss eine Art Sockel, während die umlaufende Aluminiumstruktur in den Obergeschossen strukturell und farblich eine Reminiszenz an den Hauptbau der Hochgebirgsklinik ist. Die Metallstruktur überspielt die nutzungsbedingten Unterschiede von Fenstergrössen und -positionen und dient gleichzeitig als Sonnenschutz.

Pilot oder Weiterentwicklung

In einem Masterplan wurden die Rahmenbedingungen für den Neubau vorab definiert. Damit war das Budget des Projekts festgelegt, und es galt von Beginn weg «Design to Cost». Neben den technischen Herausforderungen (BSL-3-Labor) galt es, auch funktionelle Anforderungen zu lösen: verschiedene Nutzungen und Nutzergruppen im Erdgeschoss zu verbinden und gleichzeitig in den Obergeschossen voneinander zu trennen.

OOS entschied sich, die BIM-Methode zu nutzen, auch wenn die Bauherrschaft dies nicht gefordert hatte. Während dieses Projekt für verschiedene Planungspartner ein BIM-Pilot war, bot es anderen spezifische Anwendungsfälle sowie die Möglichkeit zur (Weiter-)Entwicklung ihrer Methodenkompetenz und Prozesse.

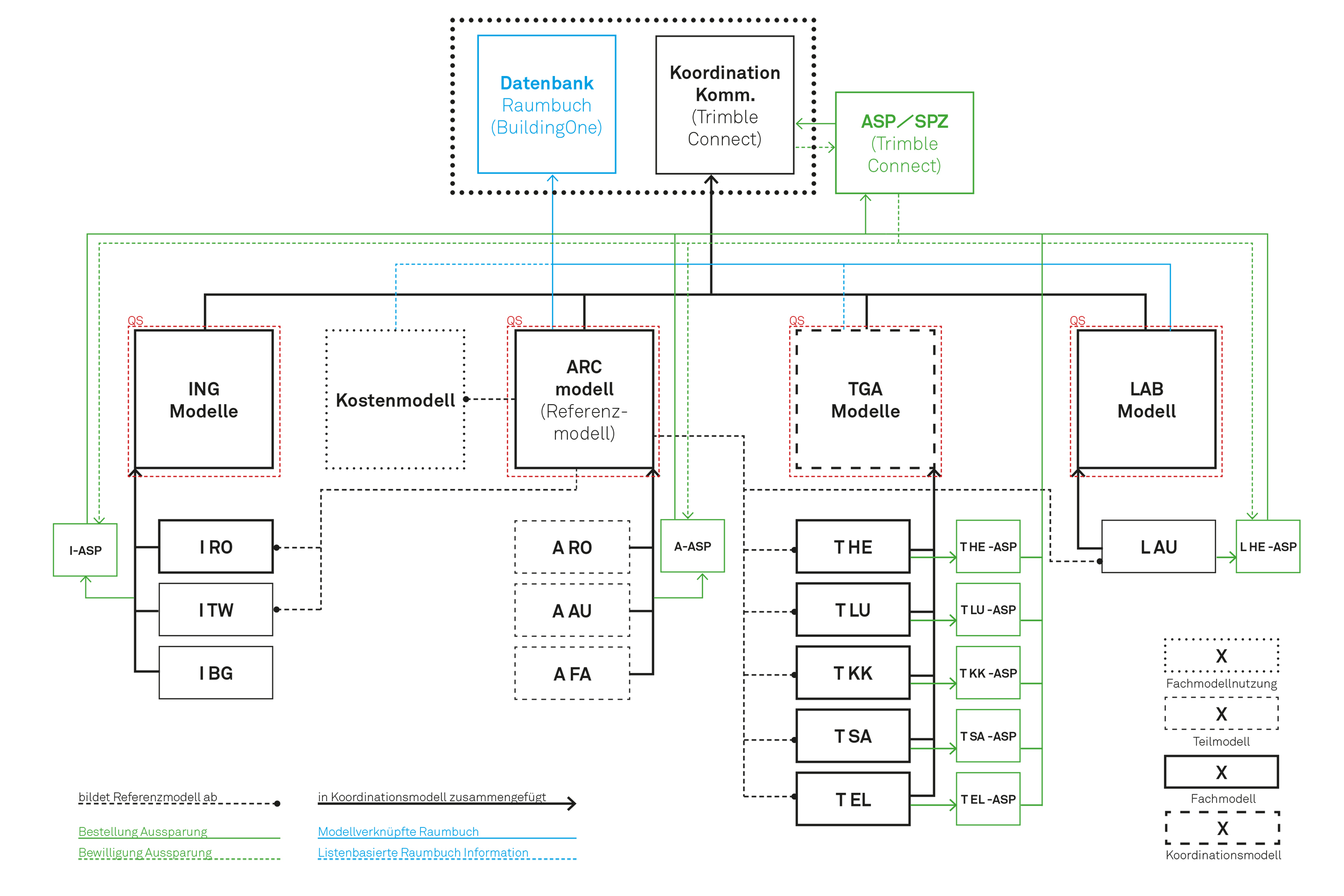
Durch die Open-BIM-Strategie konnten alle Beteiligten mit ihren eigenen Tools arbeiten. Ausgenommen waren die Raumdatenbank, das Aufgabenmanagementtool und die Kommunikations-Koordinationsplattform. Diese waren von OOS vorgegeben, wobei die Tools aber mehrheitlich gemeinsam eruiert wurden.

Neben den klassischen digitalen Bauwerksmodellen war die Raumdatenbank das eigentliche Kernstück der BIM-Anwendung. Das Architekturmodell wurde «nativ» mit der Datenbank synchronisiert. HLKKSE- und Laborplanung konnten darauf aufbauend die von ihnen verantworteten Attribute und Eigenschaften selber verwalten.

Durch diese strikte Trennung und Zuweisung der Verantwortung in der Bearbeitung konnten Mehrfachbearbeitungen verhindert und Fehlerquellen reduziert werden. Aus der Raumdatenbank konnten damit in jeder Phase Raumbücher, Möbel und Ausstattungslisten extrahiert werden. Qualitäten und modellunabhängige Informationen waren an einem zentralen Ort greifbar. Mit dem Raumbuch und Massenauszügen aus dem IFC-Modell der Architektur wurden die Kostenkalkulationen bis hin zur GU-Ausschreibung modellbasiert durchgeführt.

Mit dem Aussparungsmodell – Aussparungskörper, die durch die technische Fachkoordination erstellt und vom Architekturmodell «subtrahiert» wurden – konnten Mehrfachbearbeitungen, aber auch «Fehlermeldungen» im Koordinationsmodell reduziert werden.

Noch Luft nach oben

Die Nutzung der digitalen Raumdatenbank hat gut funktioniert und den Prozess über die gesamte Dauer des Projekts unterstützt. Im Bereich der Kommunikations- und Koordinationsplattform zeigte sich aber, dass für künftige Projekte Prozesse angepasst werden müssen respektive Werkzeuge mit anderen Funktionalitäten erwünscht sind.

Am Bau Beteiligte

 

Bauherrschaft
Kühne Real Estate,
Schindellegi

 

Nutzer
SIAF / Hochgebirgsklinik Davos / SFI / CK Care, Davos

 

Generalplanung
OOS, Zürich

 

Architektur / Innenarchitektur
OOS, Zürich

 

Kostenplanung
Digitalbau, Luzern

 

Tragwerksplanung
Pöyry Infra, Zürich

 

Elektroplanung
Amstein + Walthert, Zürich

 

HLKKS-Planung
anex Ingenieure, Zürich

 

Laborplanung
Tonelli, Gelterkirchen

 

Akustik und Bauphysik
Amstein + Walthert, Zürich

 

Landschaftsarchitektur
Fontana Landschaftsarchitektur, Basel

 

Brandschutz
Gruner, Basel

 

Lichtplanung
Sommerlatte & Sommerlatte, Zürich

 

TU / GU
Ralbau, Chur

 

Daten

 

Projektierung Version 1 (SIA Phase 31)
Oktober 2014 bis August 2015

 

Projektierung / Planung Version 2 (SIA Phasen 31-41)
Januar 2016 bis Dezember 2017

 

Ausführungsplanung
Januar 2018 bis August 2019

 

Realisierung
April 2018 bis Juli 2019

 

Inbetriebnahme
August 2019

 

Gebäude

 

Vergabeverfahren
Direktauftrag

 

Geschossfläche (GF) nach SIA 416
3’238 m2

 

Gebäudevolumen (GV) nach SIA 416
14’200 m3

 

Erstellungskosten eBKP-H (B-Z)
18.8 Mio. Fr.

Verwandte Beiträge