Ca­sa dop­pia a Mon­te Ca­ras­so

Guidotti Architetti

Il progetto è guidato in tutte le sue scelte architettoniche da un intento: trasformare gli spazi privati esterni in spazi collettivi da condividere, al di là dei limiti parcellari e della proprietà privata.

Data di pubblicazione
09-12-2019
Stefano Miccoli
Ingegnere civile POLIMI, assistente alla cattedra di strutture all’AAM, dottorando all’Università di Granada

Il progetto di ex casa parrocchiale completa e conclude quello della residenza Pedemonte realizzato nel 2006, sul fondo confinante.

L’aumento degli indici di sfruttamento introdotto dall’architetto Luigi Snozzi nel Piano regolatore di Monte Carasso ha generato una serie di nuove e diverse opportunità edificatorie per tutti i proprietari di terreni già costruiti. Queste nuove opportunità devono modificare anche i paradigmi di gestione dei rapporti tra gli edifici, dove la normale separazione degli spazi esterni tra le differenti proprietà produce un’eccessiva frammentazione del suolo che lo priva di ogni qualità spaziale.

In questo senso questo nuovo progetto tenta di trasformare, diversamente da quanto accade nella maggior parte delle realtà periurbane conosciute alle nostre latitudini, tutti gli spazi privati esterni in spazi collettivi da condividere, al di là dei limiti parcellari e della proprietà privata, con l’isolato prima e l’intero quartiere poi.

Il processo di realizzazione passa dall’accordo tra i privati proprietari dei due fondi. Accordo necessario per condividere l’idea dello spazio centrale comune. L’idea si materializza poi nella forma-struttura a «T» della casa che, posta in prossimità del limite ovest della parcella, libera, al piano terra, la maggior superficie possibile introducendo un nuovo grande spazio esterno coperto utile all’intero isolato e liberando lo spazio necessario per accogliere le autovetture sul lato della strada.

In tutta questa operazione si sono raddoppiate le superfici abitabili sui due fondi interessati senza ridurre la superficie esterna collettiva di giardino.

Tutte le altre scelte architettoniche – dalla struttura metallica a traliccio, ai tamponamenti con pannelli in legno massiccio, alle soluzioni tipologiche come il posizionamento dei cortili privati al secondo piano – sono subordinate alla ­necessità di questo grande spazio collettivo.

Considerazioni sulla struttura

di Stefano Miccoli

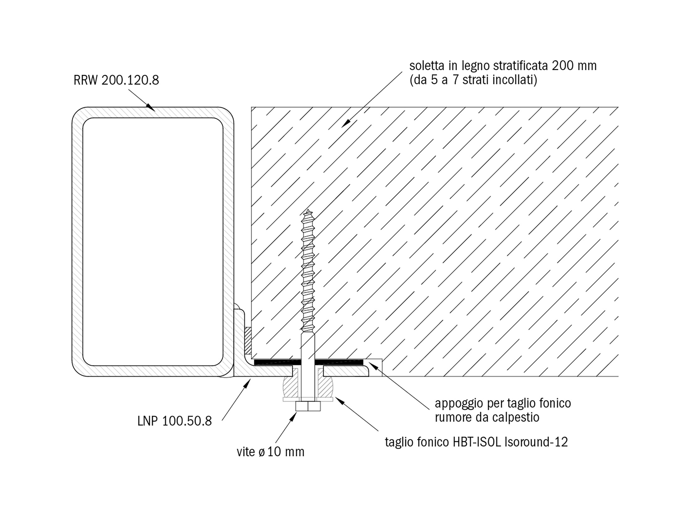
Come per la casa a Ludiano di Tocchetti e Pessina, ci troviamo di fronte a un esempio in cui scelte architettoniche e scelte strutturali si fondono. La struttura realizzata permette di rispondere in maniera precisa alle esigenze di spazi e funzioni del progetto: sfruttare al massimo le superfici abitative permesse dal nuovo piano regolatore, senza però perdere spazi al piano strada per i parcheggi e il giardino. La struttura metallica a «T», ancorata al piano cantina in calcestruzzo, è costituita da un corpo centrale di dimensioni 900 × 570 cm, che costituisce l’appoggio di una struttura a traliccio a sbalzo di 10 metri da entrambi i lati del corpo ­centrale. Il traliccio occupa il secondo e ultimo piano dell’edificio. Le diagonali non incidono sulla facciata, in quanto risulta completamente chiusa. Il primo piano risulta appeso al traliccio attraverso elementi metallici di diametro ridotto (20 mm), questo permette di non avere le diagonali e quindi una totale libertà per le facciate. La struttura metallica è realizzata attraverso profili RRW 150 × 150 (elementi verticali) e 200 × 150 (elementi orizzontali) con spessore variabile a seconda delle esigenze. Sono presenti anche profili HEA 160 in corrispondenza del passaggio degli impianti tecnici. Tutti i solai sono realizzati attraverso pannelli XLAM di spessore 20 cm, che hanno il duplice scopo di sopportare i carichi gravitazionali e, grazie alla loro rigidezza, di controventare nel piano la struttura reticolare. I solai trasmettono le forze orizzontali al nucleo centrale, che presenta controventi in acciaio a K, e all’unica parete in calcestruzzo armato disposta in senso trasversale al centro del nucleo.

Per limitare le inevitabili deformazioni dovute all’estensione degli sbalzi, il traliccio è montato con una controfreccia variabile tra 0 (in corrispondenza del nucleo centrale) e 30 mm.

Il collegamento tra i solai in legno e la struttura metallica è molto semplice e, dato che i solai sono lasciati a vista sia all’intradosso che all’estradosso, sono state realizzate delle connessioni a taglio isolate acusticamente.

Luogo Monte Carasso

Committenza C.E. Umberto Guidotti, Monte Carasso

Architettura Guidotti Architetti SA, Monte Carasso

Collaboratori A. Schwaller, E. Comodo

Impresa G.R. Costruzioni sagl, Monte Carasso

Ingegneria civile Messi & Associati SA, Bellinzona

Fisica della costruzione EcoControl SA, Locarno

Fotografia Marcelo Villada Ortiz, Bellinzona; Sabrina Montiglia, Lugano

Date progetto 2013-2016, realizzazione 2016-2018

Certificazione o Standard energetico RUEn 2008

Intervento e tipo edificio costruzione nuova

Categoria edificio (Ae) 365 m2

Fattore di forma (Ath/Ae) 2,29

Riscaldamento e acqua calda sanitaria pompa di calore aria-aria, COP = 5,12

Acqua calda Termopompa aria-aria

Requisito primario involucro dell’edificio 139 MJ/(m2a)

Particolarità sistema di distribuzione del calore tramite ventilconvettori, illuminazione convenzionale

«Archi» 6/2019 può essere acquistato quiQui puoi invece leggere l'editoriale con l'indice del numero.

Etichette

Articoli correlati