Trois foyers dans une mai­son

Une ancienne maison de l'ouest lausannois est réaménagée pour accueillir deux appartements et un studio.

Date de publication
07-03-2019
Revision
07-03-2019

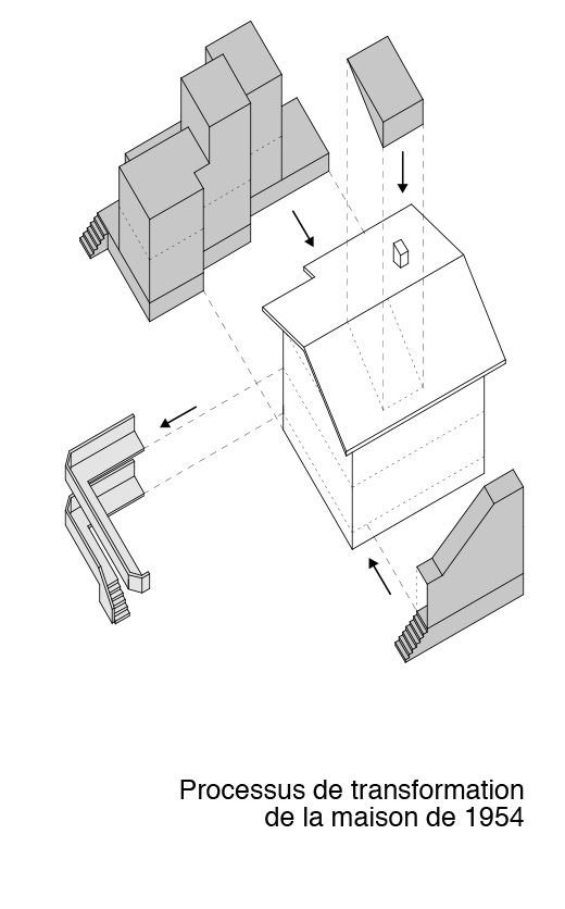
Cette maison construite dans les années 1950 dans l’ouest lausannois a été transformée et agrandie pour accueillir deux grands appartements avec accès séparés et un studio sous les combles. L’extension est traitée comme un thème architectural à part entière: les trois opérations additives ont leur propre langage constructif, une structure en acier et un remplissage de panneaux crépis, qui confère pourtant à la parcelle une unité d’expression.
Les affectations collectives (garage-atelier, escalier-bibliothèque, locaux pour les vélos et jardin) occupent deux tiers des surfaces habitables, réduisant volontairement les espaces dédiés exclusivement à la sphère intime. 

 

 

Informations

Maître de l'ouvrage: privé
Architecte: Dreier+Frenzel, Lausanne
Réalisation: 2016-2017
Cube sia 416:1254 m3
Coûts CFC 1-9:1177000 CHF TTC
Photographie: Yves André

Étiquettes
Magazine

Sur ce sujet